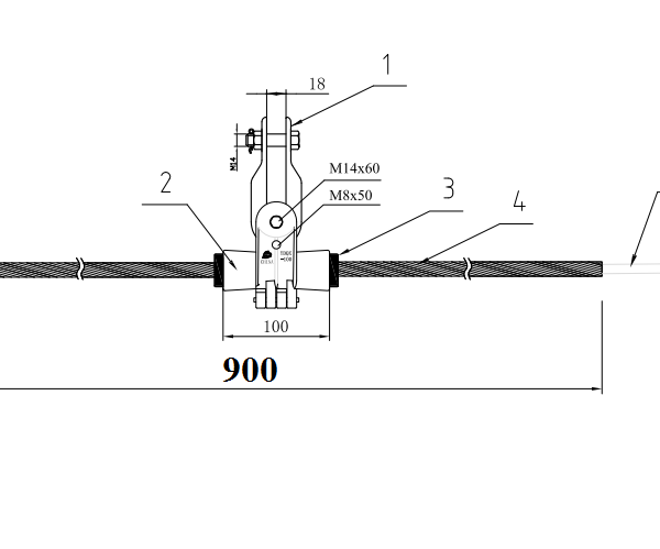
Giới thiệu chung Bộ néocáp quang ADSS KV200 hay còn gọi là chuỗi néo cáp quang ADSS khoảng vượt 200m, có tác dụng phân phối lực đều trên mặt cáp, tránh lực tập trung do đó tăng khả năng bảo vệ cáp quang ADSS. Khả năng bám dữ cáp quang ADSS của bộ néo không nhỏ hơn 90% lực kéo căng cho phép của cáp, hoàn toàn có thể đáp ứng được cho sự lắp đặt cáp quang ADSS có khoảng vượt nhỏ hơn 200m. Néo KV200 gồm các thành phần củ néo, dây néo ngoài, lót trong·

Thông số sản phẩm cơ bản của Bộ Néo KV200
| Danh mục | Chỉ tiêu |
| Khoảng vượt | 200m |
| Lực căng tối đa | ≥ 13,8kN với khoảng vượt 200m |
| Bộ còng néo đỡ cáp | Bằng thép chịu lực, mạ kẽm chống gỉ |
| Mắt néo | Thép chịu lực dày tối thiểu 5mm, mạ kẽm chống gỉ |
| Dây bện xoắn ngoài | Bằng thép cường lực, mạ kẽm chống gỉ Chiều dài: ≥ 750mm * 8 sợi với khoảng vượt 200m Số lượng, đường kính các sợi chịu lực đảm bảo phủ kín cáp quang và phủ cát tăng ma sát. |
| Dây lót chịu lực trong | Bằng thép cường lực, mạ kẽm chống gỉ Chiều dài: ≥1100mm với khoảng vượt 200m Số lượng, đường kính các sợi chịu lực đảm bảo phủ kín cáp quang và phủ cát tăng ma sát |
| Phụ kiện | Các bulong liên kết, các phụ kiện bằng inox không gỉ hoặc thép mạ kẽm |
Ứng dụng bộ néo kv200 là gì?
– Néo giữ cáp quang ADSS KV200 được cố định sử dụng trên cột, trên tường
– Sử dụng cho hệ thống cáp mạng, hệ thông cáp điện lực.
– Sử dụng cho hạ tầng cáp ADSS
Sự khác biệt giữa néo 1 hướng và néo 2 hướng của bộ néo kv200
+ néo 1 hướng gồm: 1 củ néo + 1 dây néo + 1 lót néo
+ néo 2 hướng gồm: 2 củ néo + 2 dây néo + 2 lót néo
Chi tiết kết cấu sản phẩm của bộ néo kv200
+ Chi tiết Còng néo ( móc nối chữ U:) Chất liệu bằng thép chịu lực, được mạ kẽm chống gỉ, dùng để treo bộ néo vào cột ( móc vào lỗ của bộ gông hoặc đế ốp). Bulong liên kết: Chất liệu bằng thép, được mạ kẽm chống gỉ, liên kết các phụ kiện của bộ néo và liên kết bộ néo với Gông ( hoặc đế ốp) còng néo chịu được tải tối thiểu >= 13.8kN thì mới đạt yêu cầu
+ Chi tiết Nối trung gian: Chất liệu bằng thép chịu lực, được mạ kẽm chống gỉ, dùng để đảm bảo bán kính uốn cong của cáp và tạo độ linh động khi lắp đặt. Khớp trung gian có số lượng 2 thanh song song nhau, hai đầu được đột lỗ tròn thuận tiện cho bulong xuyên qua
+ Chi tiết Khuyên lót: Chất liệu bằng thép chịu lực, được mạ mạ kẽm chống gỉ, dùng để đỡ dây xoắn néo ngoài, yếm bảo vệ sợi néo không bị cọ sát gây tổn thương sợi khi kéo căng lên cột
+ Chi tiết Dây bện néo ngoài: Gồm các dây chịu lực bằng thép cường lực mạ kẽm chống gỉ được bọc kím phía ngoài dây bảo vệ để tăng cường khả năng chịu lực của bộ néo, chiều dài tối thiểu >= 750mm, số lượng sợi tối thiểu >= 8 sợi, đường kính mỗi sợi tối thiểu >= 3.0mm, đảm bảo quấn kín cáp, bên trong có phun thêm lớp cát tạo ma sát.
+ Chi tiết Dây bện xoắn ( dây xoắn bảo vệ trong- dây lót chịu lực trong) gồm các dây chịu lực bằng thép cường lực mạ kẽm chống gỉ chịu lực đảm bảo phủ kín cáp quang và được phủ cát tăng ma sát, dây lót bảo bảo vệ cáp dùng với bộ néo khoảng vượt từ 200M. chiều dài tối thiểu >= 1110mm, số lượng sợi tối thiểu >= 16 sợi được chia làm 3 hoặc 4 tép ( ví dụ: 5*5*6 hoăc 4*4*4*4), đường kính mỗi sợi tối thiểu >= 2.2mm, đảm bảo quấn kín cáp, bên trong có phun thêm lớp cát tạo ma sát.
CTY TNHH CÔNG NGHỆ THƯƠNG MẠI VIỄN THÔNG VINANET
TEL: 0984.06.1900 – 0978.729.726














Đánh giá
Chưa có đánh giá nào.