Chuỗi néo cáp quang OPGW là gì? Chuỗi néo cáp quang OPGW là một bộ sản phẩm dùng để kéo căng cáp OPGW trên cột, cố định cáp OPGW trên cột được ổn định và không bị võng xuống gây mất an toàn khi sử dụng và vận hành. Chuỗi néo cáp quang OPGW có kết câu gồm các thành phần: Củ néo, mắt néo, khớp trung gian, Bulong, Ecu, chốt chẻ, dây néo ngoài, dây lót trong. Các thành phầm chuỗi néo được mạ chống gỉ, Sợi néo ngoài và lót trong được phun thêm lớp cát bên trong tạo ma sát khi sử dụng vấn vào cáp. Chiều dài của dây néo phụ thuộc vào đường kính cáp và lực kéo. Chuỗi néo OPGW do VinaNET cung cấp là hàng chính hãng, đảm bảo mới 100% chưa qua sử dụng, hàng nhập khẩu chính ngạch đầy đủ các chứng từ CO, CQ, ISO của nhà sản xuất, đảm bảo thực hiện đúng TCKT của người sử dụng, cũng như TCKT tại quốc gia sử dụng.

Ứng dụng của chuỗi néo cáp quang OPGW
Chuỗi néo cáp OPGW dùng trên các cột điện, dùng cố định cáp chống sét OPGW trên đỉnh cột. Chuỗi néo có tác dụng bảo vệ và làm căng cáp OPGW không làm ảnh hưởng tới phần tiếp địa khi có sét và không làm ảnh hưởng tới đường truyền tín hiệu sợi quang trong lõi cáp OPGW

– Lực tải trọng kéo phá hủy RTS >= 120kN
-Dùng cho cáp quang OPGW có đường kính 10.2-11.4mm
– Grip strength đạt 95% RTS
-Tất các thành phần của bộ néo là hàng chống gỉ, mắt néo, yếm néo dạng đúc chống han gỉ
-Dây tiếp nối có chiều dài 2000mm, chất liệu hợp kim nhôm dẻo, được kết từ nhiều sợi nhỏ tạo thành, 1 đầu được gắn vào nhíp Groove clamp để ghip vào cáp OPGW còn 1 đầu được đúc và gắn vào đầu cốt phi đầu tròng M16

- Chiều dài U néo dài 90mm, dùng M22
- Chiều dài khớp nối trung gian ( Adjuster plater) 315-495mm
- Eye chain link: 115mm
- Yếm néo dạng đúc: 55mm
- Dây néo ngoài cho cáp OPGW dài 1120mm, các sợi được vặn xoắn với nhau phù hợp với cáp OPGW có đường kính 10.2-11.4mm, bên trong có phun lớp cát tạo ma sát, đảm bảo độ báo vào cáp được chắc chắn
- Dây lót trong cho cáp OPGW dài 1600mm, các sợi xoắn theo hình thẳng, chia làm 3-4 tép, mỗi tép có khoảng 4-5 sợi với đường kính mỗi sợi khoảng 2.2mm, các tép lót bên trong có lớp cát tạo ma sát, giúp bám chặt vào cáp OPGW hơn, đảm bảo lực kéo giữ cáp ổn định chông được tác động của bên ngoài. Các bulong và ecu được mạ nhúng nóng chống han gì, các ecu có chốt chẻ chống tuột,
- Chiều dài của lớp néo ngoài và lớp lót trong của chuỗi néo cáp quang OPGW có thể thay đổi sao cho phù hợp với từng loại cáp OPGW, mỗi loại cáp OPGW có kết cấu khác nhau, lực RTS khác nhau và đường kính cáp khác nhau, nên độ rộng của lớp lót trong và lớp néo ngoài cũng cần được thay đổi sao cho phù hợp với đường kính cáp và RTS của cáp mong muốn, đảm báo đáp ứng được yêu cầu khi sử dụng và vận hành
- Cách lắp chuối néo khi cáp đi thằng:

- Cách lắp chuối néo khi cáp đi xuống hộp đấu nối:

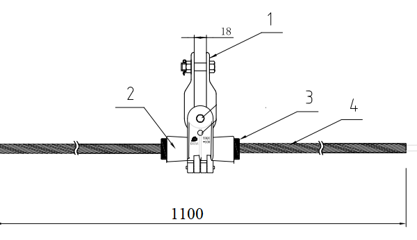
Các thành phầm của chuỗi néo cáp quang OPGW
| Item | Chủng loại | Quy cách | Số lượng | Chất liệu |
| 1 | Còng Néo | U-12 | 1 | Mạ nhúng nóng |
| 2 | Tấm điều chỉnh | ZH-12 | 1 | Mạ nhúng nóng |
| 3 | Khớp nối trung gian | PT-12 | 1 | Mạ nhúng nóng |
| 4 | Yếm néo | TC-12 | 1 | Dạng đúc, mạ nhúng nóng |
| 5 | Dây néo ngoài | Dài 1120mm | 1 | Chống rỉ |
| 6 | Dây lót trong | Dài 1600 | 1 | Chống rỉ |
| 7 | Ghíp Nối cáp tiếp địa | JN-2 | 1 | Hợp kim nhôm |
| 8 | Dây nối tiếp địa | JDX-95-2000 | 1 | Hợp kim nhôm |
Cách cáp quang chống sét OPGW đi thẳng:
Cách cáp quang chống sét OPGW đi xuống hộp và đi tiếp:
Các sản phẩm Chuỗi néo cho cáp quang OPGW do cty Viễn thông VinaNET cung cấp và phân phối là hàng chính hãng, được bảo hành 24 tháng, sử dụng và vận hành tại thị trường việt nam hơn 5 năm, hàng cam kết mới 100% và đảm bảo đúng tiêu chuẩn kỹ thuật đặt ra
















Đánh giá
Chưa có đánh giá nào.